Этикет общения в сообществе радиолюбителей⁚ правила успешного взаимодействия Мир радиолюбителей – это
Эргономика паяльника⁚ комфорт и производительность работы В мире электроники, где точность и скорость
Эргономика паяльника⁚ комфорт и производительность работы В мире электроники, где точность и скорость
Энергоэффективность и оптимизация потребления энергии в системах умного освещения В современном мире
Этикет общения в сообществе радиолюбителей⁚ правила успешного взаимодействия Мир радиолюбителей – это
Эргономика паяльника⁚ комфорт и производительность работы В мире электроники, где точность и скорость
Эргономика паяльника⁚ комфорт и производительность работы В мире электроники, где точность и скорость
Энергоэффективность и оптимизация потребления энергии в системах умного освещения В современном мире
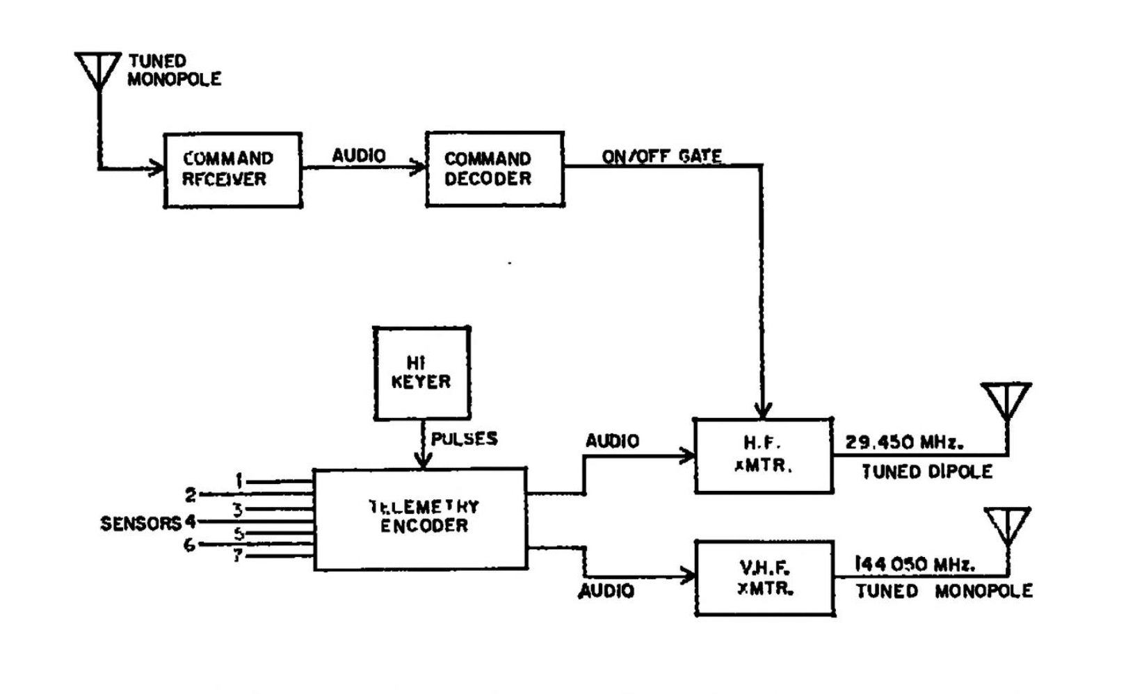
Проектирование и изготовление спутниковых радиомаяков для любительских исследований Мир любительских
Эффективность солнечных батарей⁚ новые технологии и материалы Солнечная энергия – один из самых перспективных
Проверка целостности проекта печатной платы в CAD⁚ Полное руководство Разработка печатной платы (ПП)
Эффективное управление памятью микроконтроллера⁚ от теории к практике Микроконтроллеры – сердце современных








